Вход/регистрация
9:00 — 19:00

Учим огни и знаки МППСС-72

Кликните на картинку чтобы показать/скрыть подсказку

Карточка №1 Самоходное судно длиной менее 50 м идет влево (справа налево)
Карточка №2 Самоходное судно длиной менее 50 м идет на нас
Карточка №3 Самоходное судно длиной менее 50 м идет вправо (слева направо)
Карточка №4 Самоходное судно шириной 5 м и менее (в т.ч. перевозящее опасный груз, либо которое не было дегазировано после перевозки опасного груза, либо судно длиной менее 20 м, не зависимо от ширины, либо парусное судно длиной более 7 м, но менее 20 м, либо судно шириной 5 м и менее, помогающее в проводке плота и ошвартованное к плоту) идет от нас, либо одиночное несамоходное судно длиной менее 50 м, буксируемое на тросе, либо парусное судно длиной менее 7 м на ходу, либо судовая шлюпка на ходу, либо плот
Карточка №5 Самоходное судно длиной 50 м и более, либо буксирующее судно, осуществляющее буксировку на тросе за кормой, идет на нас
Карточка №6 Самоходное судно длиной 50 м и более идет влево (справа налево)
Карточка №7 Самоходное судно длиной 50 м и более идет вправо (слева направо)
Карточка №8 Самоходное судно шириной более 5 м (в т.ч. перевозящее опасный груз, судно шириной более 5 м, помогающее в проводке плота и ошвартованное к плоту) идет от нас
Карточка №9 Самоходное судно длиной менее 50 м, работающее на переправе или внутригородских маршрутах, или самоходный паром длиной менее 50 м, или судно на воздушной подушке, длиной менее 50 м и находящееся в неводоизмещающем состоянии, идет влево (справа налево)
Карточка №10 Самоходное судно длиной менее 50 м, работающее на переправе или внутригородских маршрутах, или самоходный паром длиной менее 50 м, или судно на воздушной подушке, длиной менее 50 м и находящееся в неводоизмещающем состоянии, идет на нас
Карточка №11 Самоходное судно длиной менее 50 м, работающее на переправе или внутригородских маршрутах, или самоходный паром длиной менее 50 м, или судно на воздушной подушке, длиной менее 50 м и находящееся в неводоизмещающем состоянии, идет вправо (слева направо)
Карточка №12 Самоходное судно шириной 5 м и менее, работающее на переправе или внутригородских маршрутах, или самоходный паром шириной 5 м и менее, или судно на воздушной подушке, шириной 5 м и менее и находящееся в неводоизмещающем состоянии, идет от нас, или паром канатной переправы
Карточка №13 Толкаемый состав (толкач и толкаемый(-е) объект(-ы)), учаленные в одну кильватерную колонну, идет влево (справа налево)
Карточка №14 Толкаемый состав (толкач и толкаемый(-е) объект(-ы)), учаленные в одну кильватерную колонну, идет на нас
Карточка №15 Толкаемый состав (толкач и толкаемый(-е) объект(-ы)), учаленные в одну кильватерную колонну, идет вправо (слева направо)
Карточка №16 Толкаемый состав (толкач шириной более 5 м), в т.ч. толкаемый состав (толкач и толкаемый(-е) объект(-ы) с опасными грузами, либо толкаемый(-е) объект(-ы), которые не были дегазированы после перевозки опасных грузов, идет от нас
Карточка №17 Толкаемый состав (толкач и толкаемый(-е) объект(-ы)), учаленные в две кильватерные колонны, идет влево (справа налево)
Карточка №18 Толкаемый состав (толкач и толкаемый(-е) объект(-ы)), учаленные в две кильватерные колонны, идет на нас
Карточка №19 Толкаемый состав (толкач и толкаемый(-е) объект(-ы)), учаленные в две кильватерные колонны, идет вправо (слева направо)
Карточка №20 Толкаемый состав (толкач шириной 5 м и менее) идет от нас
Карточка №21 Буксировщик, буксирующий состав на тросе за кормой, идет влево (справа налево)
Карточка №22 Буксировщик, буксирующий состав на тросе за кормой, идет вправо (слева направо)
Карточка №23 Буксировщик, буксирующий состав на тросе за кормой (в т.ч. в котором имеются суда с опасным рузом, либо суда, которые не были дегазированы после перевозки опасных грузов), идет от нас
Карточка №24 Судно, буксирующее плот, идет влево (справа налево)
Карточка №25 Судно, буксирующее плот, идет на нас
Карточка №26 Судно, буксирующее плот, идет вправо (слева направо)
Карточка №27 Буксировщики, соединенные в кильватер и буксирующие состав на тросе за кормой, идут влево (справа налево).
Карточка №28 Буксировщики, соединенные в кильватер и буксирующие состав на тросе за кормой, идут вправо (слева направо)
Карточка №29 Буксировщики, соединенные в кильватер и буксирующие состав на тросе за кормой, идут от нас
Карточка №30 Буксировщики, ошвартованные бортами и буксирующие состав на тросе за кормой, идут влево (справа налево)
Карточка №31 Буксировщики, ошвартованные бортами и буксирующие состав на тросе за кормой, идут на нас
Карточка №32 Буксировщики, ошвартованные бортами и буксирующие состав на тросе за кормой, идут вправо (слева направо)
Карточка №33 Буксировщики, ошвартованные бортами и буксирующие состав на тросе за кормой, идут от нас
Карточка №34 Самоходное судно, помогающее в проводке плота и ошвартованное к плоту. Идет влево (справа налево), либо на нас, либо вправо (слева направо)
Карточка №35 Буксировщик, осуществляющий буксировку состава с толкачем, учаленным в одну кильватерную колонну, либо самоходного судна длиной более 50 м, с работающими двигателями, идет влево (справа налево)
Карточка №36 Буксировщик, осуществляющий буксировку состава с толкачем, учаленным в одну кильватерную колонну, либо самоходного судна длиной более 50 м, с работающими двигателями, идет вправо (слева направо)
Карточка №37 Буксировщик, осуществляющий буксировку состава с толкачем (шириной более 5 м), идет от нас
Карточка №38 Буксировщик, осуществляющий буксировку под бортом самоходного судна длиной менее 50 м, либо несамоходного судна, идет влево (справа налево)
Карточка №39 Буксировщик, осуществляющий буксировку под бортом самоходного судна длиной менее 50 м, либо несамоходного судна, идет на нас
Карточка №40 Буксировщик, осуществляющий буксировку под бортом самоходного судна длиной менее 50 м, либо несамоходного судна, идет вправо (слева направо)
Карточка №41 Буксировщик, осуществляющий буксировку под бортом самоходного судна длиной менее 50 м,либо несамоходного судна, идет от нас
Карточка №42 Парусное судно длиной более 20 м и шириной более 5 м идет от нас
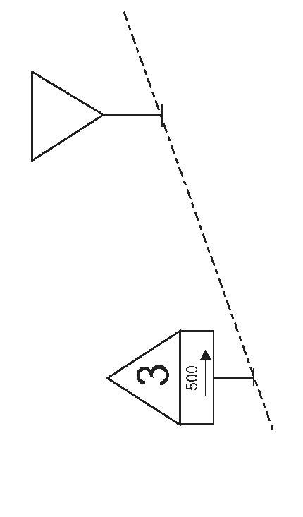
Карточка №43 Одиночное несамоходное судно длиной 50 м и более, буксируемое на тросе, либо плот длиной 60 м и более, но менее 120 м на ходу или стоянке в пути следования, либо плот длиной 500 м, стоящий на формировочном рейде у левого берега, либо лесонаправляющие (лесоограждающие) плавучие сооружения лесных запаней и гаваней длиной 100 м, расположенные у левого берега, либо иные плавучие объекты длиной 50 м и более, но менее 100 м независимо от их расположения относительно судового хода, либо рыболовные сети
Карточка №44 Парусное судно длиной более 20 м идет влево (справа налево)
Карточка №45 Парусное судно длиной более 20 м идет на нас
Карточка №46 Парусное судно длиной более 20 м идет вправо (слева направо)
Карточка №47 Парусное судно длиной от 7 до 20 м идет влево (справа налево)
Карточка №48 Парусное судно длиной от 7 до 20 м идет на нас
Карточка №49 Парусное судно длиной от 7 до 20 м идет вправо (слева направо)
Карточка №50 Самоходное судно с опасным грузом длиной более 50 м, либо судно, которое не было дегазировано после перевозки опасного груза, длиной более 50 м, идет влево (справа налево)
Карточка №51 Самоходное судно с опасным грузом длиной более 50 м, либо судно, которое не было дегазировано после перевозки опасного груза, длиной более 50 м, идет на нас
Карточка №52 Самоходное судно с опасным грузом длиной более 50 м, либо судно, которое не было дегазировано после перевозки опасного груза, длиной более 50 м, идет вправо (слева направо)
Карточка №53 Судно, занятое буксировкой состава, в котором имеются суда с опасным грузом, либо суда, которые не были дегазированы после перевозки опасных грузов, идет влево (справа налево)
Карточка №54 Судно, занятое буксировкой состава, в котором имеются суда с опасным грузом, либо суда, которые не были дегазированы после перевозки опасных грузов, идет на нас
Карточка №55 Судно, занятое буксировкой состава, в котором имеются суда с опасным грузом, либо суда, которые не были дегазированы после перевозки опасных грузов, идет вправо (слева направо)
Карточка №56 Толкаемый состав (толкач и толкаемый(-е) объект(-ы) с опасными грузами, либо толкаемый(-е) объект(-ы), которые не были дегазированы после перевозки опасных грузов), учаленные в одну кильватерную колонну, идет влево (справа налево).
Карточка №57 Толкаемый состав (толкач и толкаемый(-е) объект(-ы) с опасными грузами, либо толкаемый(-е) объект(-ы), которые не были дегазированы после перевозки опасных грузов), учаленные в одну кильватерную колонну, идет на нас
Карточка №58 Толкаемый состав (толкач и толкаемый(-е) объект(-ы) с опасными грузами, либо толкаемый(-е) объект(-ы), которые не были дегазированы после перевозки опасных грузов), учаленные в одну кильватерную колонну, идет вправо (слева направо).
Карточка №59 Буксировщик, осуществляющий буксировку на тросе за кормой, работающий на переправе, идет влево (справа налево)
Карточка №60 Самоходное судно длиной 50 м и более, работающее на переправе или внутригородских маршрутах, или самоходный паром длиной менее 50 м, или судно на воздушной подушке, длиной 50 м и более, находящееся в неводоизмещающем состоянии, или буксировщик, осуществляющий буксировку на тросе за кормой, работающий на переправе, идет на нас.
Карточка №61 Буксировщик, осуществляющий буксировку на тросе за кормой, работающий на переправе, идет вправо (слева направо)
Карточка №62 Плот длиной 120 м и более, но менее 240 м, в т.ч. на стоянке в пути следования
Карточка №63 Плот длиной 240 м и более, но менее 480 м, в т.ч. на стоянке в пути следования, либо группа несамоходных судов при буксировке в составе.
Карточка №64 Одиночное судно шириной более 5 м (в т.ч. судно на воздушной подушке шириной более 5 м, экраноплан шириной более 5 м) на стоянке (вид с кормы)
Карточка №65 Плавучий объект длиной менее 50 м, либо дебаркадер, либо самоходное судно шириной 5 м и менее, стоящее на мели, если проход других судов мимо возможен.
Карточка №66 Самоходное судно с опасными грузами шириной 5 м и менее на стоянке, либо самоходное судно, которое не было дегазировано после перевозки опасных грузов, шириной 5 м и менее на стоянке, либо буксируемое несамоходное судно с опасным грузом длиной менее 50 м, либо буксируемое несамоходное судно, которое не было дегазировано после перевозки опасных грузов, длиной менее 50 м, либо нефтеперекачивающая (нефтебункеровочная или зачистная) станция длиной менее 50 м, на стоянке
Карточка №67 Буксируемое несамоходное судно с опасным грузом длиной 50 м и более, либо буксируемое несамоходное судно, которое не было дегазировано после перевозки опасных грузов, длиной 50 м и более, либо нефтеперекачивающая (нефтебункеровочная или зачистная) станция длиной 50 м и более на стоянке
Карточка №68 Плот длиной 1000 м, стоящий на формировочном рейде у правого берега, либо лесонаправляющие (лесоограждающие) сооружения лесных запаней и гаваней длиной 200 м, расположенные у правого берега, либо рыболовные снасти, выпущенные с судов, занятых ловом рыбы на участках ВВП (кроме озер и водохранилищ), длиной 200 м.
Карточка №69 Судно (состав) на мели, если другим судам проход невозможен (вид с носа)
Карточка №70 Судно, длиной менее 50 м, занятое ловом рыбы, идет влево (справа налево)
Карточка №71 Судно, занятое ловом рыбы, днем
Карточка №72 Судно шириной более 5 м, занятое ловом рыбы, идет от нас
Карточка №73 Несамоходные суда, стоящие в составе, или соединенные в группе, на рейде или у берега
Карточка №74 Самоходное судно длиной 50 м и более, работающее на переправе или внутригородских маршрутах, или самоходный паром длиной 50 м и более, или судно на воздушной подушке, длиной 50 м и более и находящееся в неводоизмещающем состоянии, идет влево (справа налево)
Карточка №75 Самоходное судно длиной 50 м и более, работающее на переправе или внутригородских маршрутах, или самоходный паром длиной 50 м и более, или судно на воздушной подушке, длиной 50 м и более и находящееся в неводоизмещающем состоянии, идет вправо (слева направо)
Карточка №76 Самоходное судно шириной более 5 м, работающее на переправе или внутригородских маршрутах, или самоходный паром шириной более 5 м, или судно на воздушной подушке, шириной более 5 м и находящееся в неводоизмещающем состоянии, идет от нас
Карточка №77 Плот диной более 480 м
Карточка №78 Самоходный дноуглубительный снаряд длиной более 50 м с протаскиваемым (волочащимся) по дну грунтоприемником при заборе грунта на ходу, идет влево (справа налево)
Карточка №79 Самоходное судно с опасным грузом длиной менее 50 м, либо судно, которое не было дегазировано после перевозки опасного груза, длиной менее 50 м, идет влево (справа налево)
Карточка №80 Самоходное судно с опасным грузом длиной менее 50 м, либо судно, которое не было дегазировано после перевозки опасного груза, длиной менее 50 м, идет на нас
Карточка №81 Самоходное судно с опасным грузом длиной менее 50 м, либо судно, которое не было дегазировано после перевозки опасного груза, длиной менее 50 м, идет вправо (слева направо)
Карточка №82 Судно (состав) шириной более 5 м на мели, если другим судам проход невозможен (вид с кормы)
Карточка №83 Толкаемый состав (толкач и толкаемый(-е) объект(-ы)), учаленные в одну кильватерную колонну, работающий на переправе идет влево (справа налево)\
Карточка №84 Толкаемый состав (толкач и толкаемый(-е) объект(-ы)), учаленные в одну кильватерную колонну, работающий на переправе идет на нас
Карточка №85 Толкаемый состав (толкач и толкаемый(-е) объект(-ы)), учаленные в одну кильватерную колонну, работающий на переправе идет вправо (слева направо)
Карточка №86 Экраноплан шириной более 5 м идет от нас
Карточка №87 Экраноплан длиной менее 50 м идет влево (справа налево)
Карточка №88 Экраноплан длиной менее 50 м идет на нас
Карточка №89 Экраноплан длиной менее 50 м идет вправо (слева направо).
Карточка №90 Судно (состав) на мели, если другим судам проход невозможен (днем)
Карточка №91 Судно, идущее под парусом и одновременно использующее силовую механическую установку, на ходу (днем)
Карточка №92 Самоходное или несамоходное судно, осуществляющее перевозку опасного груза, либо самоходное или несамоходное судно, которое не было дегазировано после перевозки опасного груза, на ходу или стоянке (днем)
Карточка №93 Одиночное самоходное судно, стоящее на якоре, либо толкач или буксировщик состава, стоящие на якоре, либо самоходное судно, или толкач, или буксировщик, стоящие на мели, если другим судам проход возможен (днем)
Карточка №94 Судно Ространснадзора длиной менее 50 м идет влево (справа налево)
Карточка №95 Судно Ространснадзора длиной менее 50 м идет на нас
Карточка №96 Судно Ространснадзора длиной менее 50 м идет вправо (слева направо)
Карточка №97 Судно Ространснадзора шириной 5 м и менее идет от нас либо судно Ространснадзора шириной 5 м и менее на стоянке
Карточка №98 Судно терпит бедствие и/или нуждается в помощи
Карточка №99 Судно терпит бедствие и/или нуждается в помощи
Карточка №100 Дноочистительный снаряд, либо судно занятое подводными работами (без водолазных)
Карточка №101 Дноуглубительный снаряд при работе на правой стороне судового хода
Карточка №102 Дноуглубительный снаряд при работе на левой стороне судового хода
Карточка №103 Землесосный (рефулерный дноуглубительный) снаряд при работе на правой стороне судового хода и отводящий грунт с помощью плавучего рефулера за правую кромку судового хода
Карточка №104 Землесосный (рефулерный дноуглубительный) снаряд при работе на левой стороне судового хода и отводящий грунт с помощью плавучего рефулера за левую кромку судового хода
Карточка №105 Дноочистительный снаряд, либо судно занятое подводными работами (без водолазных), либо судно технического флота, занятое тралением судового хода или при работе у плавучих знаков навигационного оборудования, днем.
Карточка №106 Судно, занятое водолазными работами
Карточка №107 Судно, занятое водолазными работами (днем)
Карточка №108 Самоходный дноуглубительный снаряд, с волочащимся по дну грунтоприемником, при заборе грунта на ходу, идет на нас
Карточка №109 Самоходный дноуглубительный снаряд, с волочащимся по дну грунтоприемником, при заборе грунта на ходу, идет вправо (слева направо)
Карточка №110 Самоходный дноуглубительный снаряд, с волочащимся по дну грунтоприемником, при заборе грунта на ходу, идет от нас
Карточка №111 Самоходный дноуглубительный снаряд, с волочащимся по дну грунтоприемником, при заборе грунта на ходу (днем)
Карточка №112 Судно технического флота, занятое тралением судового хода идет влево (справа налево)
Карточка №113 Судно технического флота, занятое тралением судового хода идет на нас
Карточка №114 Судно технического флота, занятое тралением судового хода идет вправо (слева направо)
Карточка №115 Судно технического флота шириной более 5 м, занятое тралением судового хода идет от нас
Карточка №116 Судно длиной менее 50 м, занятое ловом рыбы, протаскивающее траловую сеть или другое орудие лова, которое ограничивает его маневренность, идет на нас
Карточка №117 Судно длиной менее 50 м, занятое ловом рыбы, протаскивающее траловую сеть или другое орудие лова, которое ограничивает его маневренность, идет вправо (слева направо)
Карточка №118 Судно, выполняющее девиационные работы (днем
Карточка №119 Судно, лишенное возможности управляться, не имеет хода относительно воды
Карточка №120 Судно, лишенное возможности управляться (днем)
Карточка №121 Судно, лишенное возможности управляться, имеет ход относительно воды, идет влево (справа налево)
Карточка №122 Судно, лишенное возможности управляться, имеет ход относительно воды, идет на нас
Карточка №123 Судно, лишенное возможности управляться, имеет ход относительно воды, идет вправо (слева направо
Карточка №124 Судно шириной более 5 м, лишенное возможности управляться, имеет ход относительно воды, идет от нас
Карточка №125 Звуковой сигнал «Внимание»
Карточка №126 Звуковой сигнал «Я изменяю свой курс вправо»
Карточка №127 Звуковой сигнал «Я изменяю свой курс влево»
Карточка №128 Звуковой сигнал «Мои движители работают на задний ход»
Карточка №129 Звуковой сигнал «Я намереваюсь остановиться или сделать оборот»
Карточка №130 Звуковой сигнал «Предупреждение»
Карточка №131 Звуковой сигнал «Человек за бортом».
Карточка №132 Звуковой сигнал «Прошу увеличить ход»
Карточка №133 Звуковой сигнал «Прошу уменьшить ход»
Карточка №134 Звуковой сигнал «Прошу выйти на связь»
Карточка №135 Варианты звукового сигнала «Терплю бедствие»
Карточка №136 Звуковой сигнал «Я вас понял»
Карточка №137 Звуковой сигнал Пассажирское судно отходит в рейс»
Карточка №138 Звуковой сигнал «Запрос на обгон»
Карточка №139 Звуковой сигнал «Одиночное судно в движении в условиях ограниченной визуальной видимости»
Карточка №140 Звуковой сигнал «Составы и плоты в движении в условиях ограниченной визуальной видимости»
Карточка №141 Звуковой сигнал «Судно или состав на якоре или на мели в пределах судового хода в условиях ограниченной визуальной видимости»
Карточка №142 Звуковой сигнал «Несамоходное судно с экипажем на якоре или на мели в пределах судового хода в условиях ограниченной визуальной видимости»
Карточка №143 Звуковой сигнал «Судно следует по затруднительному непросматриваемому участку большой протяженности»
Карточка №144 Сигнал на семафорной мачте - ход закрыт для движения в оба направления (днем)
Карточка №145 Сигнал на семафорной мачте - ход закрыт для движения в оба направления
Карточка №146 Сигнал на семафорной мачте - ход закрыт для движения снизу (днем). Применяется при светлом фоне местности
Карточка №147 Сигнал на семафорной мачте – ход закрыт для движения снизу
Карточка №148 Сигнал на семафорной мачте –ход закрыт для движения сверху (днем). Применяется при светлом фоне местности
Карточка №149 Сигнал на семафорной мачте - ход закрыт для движения сверху (днем). Применяется при темном фоне местности
Карточка №150 Береговой запрещающий знак – «Расхождение и обгон запрещены»
Карточка №151 Затмевающийся огонь желтого цвета. Применяется на всех береговых запрещающих знаках, кроме знака «Якоря не бросать»
Карточка №152 Береговой запрещающий знак – «Расхождение и обгон составов запрещены»
Карточка №153 Береговой запрещающий знак – «Якоря не бросать»
Карточка №154 Два желтых постоянных огня, расположенных по вертикали. Применяются на береговом запрещающем знаке «Якоря не бросать»
Карточка №155 Береговой запрещающий знак – «Не создавать волнения»
Карточка №156 Береговой запрещающий знак – «Движение мелких плавсредств запрещено»
Карточка №157 Разрешающий сигнал на светофоре (семафоре). Применяется днем и ночью
Карточка №158 Запрещающий сигнал на светофоре (семафоре). Применяется днем и ночью
Карточка №159 Береговой предупреждающий и предписывающий знак «Скорость ограничена». Цифры на знаке указывают максимально допустимую скорость хода в км/ч
Карточка №160 Желтый проблесковый огонь. Применяется на всех береговых предупреждающих и предписывающих знаках
Карточка №161 Береговой предупреждающий и предписывающий знак «Внимание»
Карточка №162 Береговой предупреждающий и предписывающий знак «Пересечение судового хода»
Карточка №163 Береговой предупреждающий и предписывающий знак «Соблюдать надводный габарит» Цифры на знаке показывают высотный габарит надводного перехода от расчетного уровня воды в метрах и десятых к ним
Карточка №164 Два желтых постоянных огня, расположенных по горизонтали. Применяются в виде одного из вариантов (вместо желтого проблескового огня) на береговом предупреждающем и предписывающем знаке «Соблюдать надводный габарит»
Карточка №165 Береговой указательный знак «Место оборота судов»
Карточка №166 Желтый постоянный огонь. Применяется на береговом указательном знаке «Место оборота судов»
Карточка №167 Стоповый знак. Наносится в виде вертикальной линии краской на опорной стенке сооружений
Карточка №168 Красный постоянный вертикальный огонь. Применяется на стоповом знаке
Карточка №169 Плавучий навигационный знак «Кромочный левой кромки» и варианты навигационных огней для него. Устанавливается на левой кромке судового хода при светлом фоне местности
Карточка №170 Плавучий навигационный знак «Кромочный левой кромки» и варианты навигационных огней для него. Устанавливается на левой кромке судового хода при темном фоне местности
Карточка №171 Веха, которая устанавливается на левой кромке судового хода и обозначает кромку судового хода
Карточка №172 Плавучий навигационный знак «Кромочный правой кромки». Устанавливается на правой кромке судового хода
Карточка №173 Веха, которая устанавливается на правой кромке судового хода и обозначает кромку судового хода
Карточка №174 Плавучий навигационный знак «Разделительный» и варианты навигационных огней для него. Устанавливается на кромке судового хода в местах его разделения при темном фоне местности
Карточка №175 Плавучий навигационный знак «Разделительный» и варианты навигационных огней для него. Устанавливается на кромке судового хода в местах его разделения при светлом фоне местности
Карточка №176 Плавучий навигационный знак «Знак опасности» и варианты навигационных огней для него. Устанавливается на левой кромке судового хода
Карточка №177 Плавучий навигационный знак «Знак опасности» и варианты навигационных огней для него. Устанавливается на правой кромке судового хода при темном фоне местности
Карточка №178 Плавучий навигационный знак «Знак опасности» и варианты навигационных огней для него. Устанавливается на правой кромке судового хода при светлом фоне местности
Карточка №179 Плавучий навигационный знак «Поворотный» и варианты навигационных огней для него. Устанавливается на левой кромке судового хода при темном фоне местности
Карточка №180 Плавучий навигационный знак «Поворотный» и варианты навигационных огней для него. Устанавливается на левой кромке судового хода при светлом фоне местности
Карточка №181 Плавучий навигационный знак «Поворотный» и варианты навигационных огней для него. Устанавливается на правой кромке судового хода при темном фоне местности
Карточка №182 Плавучий навигационный знак «Поворотный» и варианты навигационных огней для него. Устанавливается на правой кромке судового хода при светлом фоне местности
Карточка №183 Плавучий навигационный знак «Осевой» и его навигационный огонь. Устанавливается на оси судового хода
Карточка №184 Веха, которая устанавливается на оси судового хода совместно с плавучим навигационным знаком «Осевой»
Карточка №185 Плавучий навигационный знак «Поворотно-осевой» и его навигационный огонь. Устанавливается на оси судового хода при темном фоне местности
Карточка №186 Веха, которая устанавливается на оси судового хода совместно с плавучим навигационным знаком «Поворотно-осевой» при темном фоне местности
Карточка №187 Плавучий навигационный знак «Поворотно-осевой» и его навигационный огонь. Устанавливается на оси судового хода при светлом фоне местности
Карточка №188 Береговой навигационный знак «Кромочный створ». Применяется при светлом фоне местности
Карточка №189 Береговой навигационный знак «Кромочный створ». Применяется при темном фоне местности
Карточка №190 Береговой навигационный знак «Путевой огонь» и варианты навигационных огней для него. Устанавливается на левом берегу
Карточка №191 Береговой навигационный знак «Путевой огонь» и варианты навигационных огней для него. Устанавливается на правом берегу
Карточка №192 Сигнал на семафорной мачте - ход закрыт для движения сверху (днем). Применяется при темном фоне местности
Карточка №193 Сигнал на семафорной мачте - ход закрыт для движения снизу (днем). Применяется при темном фоне местности
Карточка №194 Плавучий навигационный знак «Свальный» и варианты навигационных огней для него. Устанавливается на левой кромке судового хода
Карточка №195 Плавучий навигационный знак «Свальный» и варианты навигационных огней для него. Устанавливается на правой кромке при светлом фоне местности
Карточка №196 Плавучий навигационный знак «Свальный» и варианты навигационных огней для него. Устанавливается на правой кромке при темном фоне местности
Карточка №197 Рейдовые знаки и дополнительная табличка, указывающая протяженность и направление расположения рейда
Карточка №198 Веха, которая устанавливается на оси судового хода совместно с плавучим навигационным знаком «Поворотно-осевой» при светлом фоне местности
Карточка №199 Вариант плавучего навигационного знака «Парный знак» и варианты навигационных огней для него
Карточка №200 Вариант плавучего навигационного знака «Парный знак» и варианты навигационных огней для него
Карточка №201 Указатель оси судового хода в судоходном пролете моста, предназначенном для движения плотовых составов. Применяется при светлом фоне местности
Карточка №202 Указатель оси судового хода в судоходном пролете моста, предназначенном для движения плотовых составов. Применяется при темном фоне местности
Карточка №203 Навигационные огни берегового навигационного знака «Рейдовый» (переднего и заднего), установленного на правом берегу
Карточка №204 Навигационные огни берегового навигационного знака «Рейдовый» (переднего и заднего), установленного на левом берегу.
Карточка №205 Береговой навигационный знак «Осевой створ». Применяется при светлом фоне местности
Карточка №206 Варианты навигационных огней для берегового навигационного знака «Осевой створ», установленного на левом берегу
Карточка №207 Береговой навигационный знак «Осевой створ». Применяется при темном фоне местности
Карточка №208 Варианты навигационных огней для берегового навигационного знака «Осевой створ», установленного на правом берегу
Карточка №209 Береговой навигационный знак «Щелевой створ». Применяется при светлом фоне местности
Карточка №210 Навигационные огни для берегового навигационного знака «Щелевой створ» (независимо от места установки знака)
Карточка №211 Береговой навигационный знак «Щелевой створ». Применяется при темном фоне местности
Карточка №212 Береговой навигационный знак «Перевальный». Применяется при светлом фоне местности.
Карточка №213 Береговой навигационный знак «Перевальный». Применяется при темном фоне местности
Карточка №214 Навигационные огни, которые применяются на знаках, обозначающих левую кромку судового хода, на береговом навигационном знаке «Кромочный створ»
Карточка №215 Навигационные огни, которые применяются на знаках, обозначающих правую кромку судового хода, на береговом навигационном знаке «Кромочный створ»
Карточка №216 Варианты навигационных огней для берегового навигационного знака «Перевальный», установленного на левом берегу
Карточка №217 Варианты навигационных огней для берегового навигационного знака «Перевальный», установленного на правом берегу.
Карточка №218 Береговой навигационный знак «Весенний» и его навигационный огонь. Устанавливается на правом берегу
Карточка №219 Береговой навигационный знак «Весенний» и его навигационный огонь. Устанавливается на левом берегу
Карточка №220 Береговой навигационный знак «Ориентир» и варианты навигационных огней для него. Устанавливается на левом берегу
Карточка №221 Береговой навигационный знак «Ориентир» и варианты навигационных огней для него. Устанавливается на правом берегу
Карточка №222 Береговой навигационный знак «Ходовой» и его навигационный огонь. Устанавливается на левом берегу
Карточка №223 Береговой навигационный знак «Ходовой» и его навигационный огонь. Устанавливается на правом берегу
Карточка №224 Указатель оси судового хода в судоходном пролете моста, предназначенном для движения судов и составов (кроме плотовых) сверху. Применяется при светлом фоне местности
Карточка №225 Указатель оси судового хода в судоходном пролете моста, предназначенном для движения судов и составов (кроме плотовых) сверху. Применяется при темном фоне местности
Карточка №226 Навигационные огни, которые применяются для указания оси судового хода в судоходном пролете моста, предназначенном для движения судов независимо от направления движения
Карточка №227 Навигационные огни, которые применяются для указания оси судового хода в судоходном пролете моста, предназначенном для движения плотовых составов сверху
Карточка №228 Указатель оси судового хода в судоходном пролете моста, предназначенном для движения маломерных судов независимо от направления движения. Применяется при светлом фоне местности
Карточка №229 Указатель оси судового хода в судоходном пролете моста, предназначенном для движения маломерных судов независимо от направления движения. Применяется при темном фоне местности
Карточка №230 Указатель оси судового хода в судоходном пролете моста, предназначенном для движения судов и составов снизу. Применяется при светлом фоне местности
Карточка №231 Указатель оси судового хода в судоходном пролете моста, предназначенном для движения судов и составов снизу. Применяется при темном фоне местности
Карточка №233 Указатель высоты подмостового габарита и кромок судового хода в судоходном пролете моста. Применяется при светлом фоне местности. Одна пара знаков (один знак слева и один знак справа) обозначают высоту пролета менее 10 м
Карточка №234 Указатель высоты подмостового габарита и кромок судового хода в судоходном пролете моста. Применяется при темном фоне местности. Одна пара знаков (один знак слева и один знак справа) обозначают высоту пролета менее 10 м
Карточка №235 Навигационный огонь, применяющийся на указателе высоты подмостового габарита и кромок судового хода в судоходном пролете моста. Одна пара огней (один огонь слева и один огонь справа) обозначают высоту пролета менее 10 м.
Карточка №236 Указатель высоты подмостового габарита и кромок судового хода в судоходном пролете моста. Применяется при светлом фоне местности. Две пары знаков (два знака слева и два знака справа) обозначают высоту пролета моста более 10 м, но менее 13 м
Карточка №237 Указатель высоты подмостового габарита и кромок судового хода в судоходном пролете моста. Применяется при темном фоне местности. Две пары знаков (два знака слева и два знака справа) обозначают высоту пролета моста более 10 м, но менее 13 м
Карточка №238 Навигационные огни, применяющиеся на указателе высоты подмостового габарита и кромок судового хода в судоходном пролете моста. Две пары огней (два огня слева и два огня справа) обозначают высоту пролета моста более 10 м, но менее 13 м.
Карточка №239 Указатель высоты подмостового габарита и кромок судового хода в судоходном пролете моста. Применяется при светлом фоне местности. Три пары знаков (три знака слева и три знака справа) обозначают высоту пролета моста более 13 м, но менее 16 м
Карточка №240 Указатель высоты подмостового габарита и кромок судового хода в судоходном пролете моста. Применяется при темном фоне местности. Три пары знаков (три знака слева и три знака справа) обозначают высоту пролета моста более 13 м, но менее 16 м
Карточка №241 Навигационные огни, применяющиеся на указателе высоты подмостового габарита и кромок судового хода в судоходном пролете моста. Три пары огней (три огня слева и три огня справа) обозначают высоту пролета моста более 13 м, но менее 16 м.
Карточка №242 Указатель высоты подмостового габарита и кромок судового хода в судоходном пролете моста. Применяется при светлом фоне местности. Четыре пары знаков (четыре знака слева и четыре знака справа) обозначают высоту пролета моста более 16 м
Карточка №243 Указатель высоты подмостового габарита и кромок судового хода в судоходном пролете моста. Применяется при темном фоне местности. Четыре пары знаков (четыре знака слева и четыре знака справа) обозначают высоту пролета моста более 16 м
Карточка №244 Навигационные огни, применяющиеся на указателе высоты подмостового габарита и кромок судового хода в судоходном пролете моста. Четыре пары огней (четыре огня слева и четыре огня справа) обозначают высоту пролета моста более 16 м.
Карточка №245 Навигационные огни, применяющиеся на разводных пролетах наплавных мостов. Разводная часть отведена в сторону правого берега
Карточка №246 Навигационные огни, применяющиеся на разводных пролетах наплавных мостов. Разводная часть отведена в сторону левого берега
Карточка №247 Плавучий знак кардинальной системы ограждения навигационных опасностей системы МАМС и его навигационный огонь. Северный знак
Карточка №248 Плавучий знак кардинальной системы ограждения навигационных опасностей системы МАМС и его навигационный огонь. Южный знак
Карточка №249 Плавучий знак кардинальной системы ограждения навигационных опасностей системы МАМС и его навигационный огонь. Восточный знак
Карточка №250 Плавучий знак кардинальной системы ограждения навигационных опасностей системы МАМС и его навигационный огонь. Западный знак
Карточка №251 Плавучий знак ограждения отдельных навигационных опасностей малых размеров системы МАМС и его навигационный огон
Благодарность разработчикам